luck官网正版入口

专利

发布时间:2020-12-08
浏览次数:

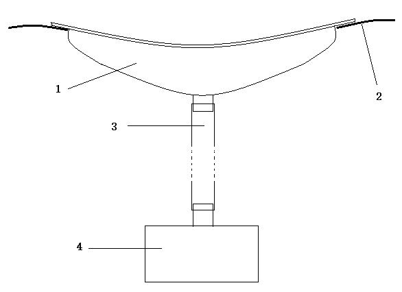
  ZL201721498507.X 一种眼科吸血海绵按扣式手柄

图片3.jpg

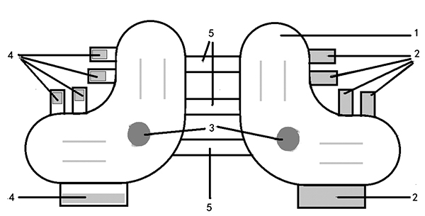
  ZL201721464789.1 脚踝温敷带

图片4.jpg

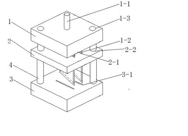
  ZL201721713141.3 一种柔性薄板型材的裁切装置

图片5.jpg

  ZL201721455515.6 一种用于热球式风速计测定风速的辅助装置

图片6.jpg

  ZL201721507568.8 一种用于海绵物质洗涤或化学反应的装置

图片7.jpg

  ZL201721463531.X 船型导尿器

图片8.jpg

  实用新型专利:康复站立架 授权公告号:CN211461081U

图片9.jpg


Baidu
map